- Fotovoltaika
- Metalická štrukturovaná kabeláž
-
Optická kabeláž
- FO-optické káble
- FO-vláknové zväzky
-
FO-optické patch káble
-
Optické singlemode patchcordy
- Optický SM patch kábel SCSC
- Optický SM patch kábel SCST
- Optický SM patch kábel STST
- Optický SM patch kábel FCFC
- Optický SM patch kábel FCSC
- Optický SM patch kábel FCST
- Optický SM patch kábel LCLC
- Optický SM patch kábel LCSC
- Optický SM patch kábel LCST
- Optický SM patch kábel LCALCA
- Optický SM patch kábel MUMU
- Optický SM patch kábel SCASCA
- Optický SM patch kábel SCASC
- Optický SM patch kábel SCAST
- Optický SM patch kábel FCSCA
- Optický SM patch kábel FCAFCA
- Optický SM patch kábel FCASC
- Optický SM patch kábel FCAFC
- Optický SM patch kábel FCAST
- Optický SM patch kábel FCALC
- Optický SM patch kábel FCASCA
- Optický SM patch kábel LCSCA
- Optický SM patch kábel E2000AE2000
- Optický SM patch kábel E2000AE2000A
- Optický SM patch kábel FCLC
- Optický SM patch kábel E2000ALC
- Optický SM patch kábel E2000ASCA
- Optický SM patch kábel LCALC
- Optické multimode patchcordy
-
Optické singlemode patchcordy
- FO-optické pigtaily
- FO-optické patch panely
- FO-optické adaptéry
- FO-optické konektory
- FO-optické zásuvky
- Moduly MPO,MTP
- Optické boxy a rozvádzače
- Splice Trays
- Príslušenstvo pre optickú kabeláž
- Optické spojky
- Ostatné káble a príslušenstvo
-
Systémy káblového manažmentu
- Elektroinštalačné rúry s príslušenstvom
- Chráničky s príslušenstvom
- Mikrotrubičky s príslušenstvom
- Multirúry s príslušenstvom
-
Elektroinštalačné žľaby s príslušenstvom
- Kovové parapetné žľaby
- Plastové žľaby a lišty
- Perforované / plné káblové žlaby
- Drôtené káblové žľaby
- Káblové rebríky
- Príslušenstvo pre kovové žľaby
- Príslušenstvo pre plastové žľaby
- Príslušenstvo pre perforované / plné káblové žľaby
- Príslušenstvo pre káblové rebríky
- Príslušenstvo k podlahovým žľabom
- Príslušenstvo pre drôtené žľaby
- Šachty, stĺpiky, optické spojky
- Rozvádzače, boxy, krabice
- Aktívne zariadenia dátových sietí
- Systémy pre prenos hlasu
- Systémy pre spracovanie obrazu
- Prístupové a dochádzkové systémy
- Protipožiarne systémy
-
Zabezpečovacie systémy
-
EZS-Elektronická zabezpečovacia signalizácia
- Ústredňa EZS
- Klávesnice
- Magnetické kontakty
- Detektory pohybu
- Bezdrôtový diaľkový ovládač
- Interfaceové moduly
- Expandery
- Čítačky
- Príslušenstvo
- Bezpečnostné karty
- Reléové moduly
- Skrinky a krabice
- Transformátory a zdroje
- Vibračné detektory
- Detektory rozbitia skla
- Sirény
- Núdzové tlačítko
- Moduly
- Výstražné blikače
- Komunikátory
- Akumulátory
- Pult centrálnej ochrany
- Software
- Kvadrátory
- Perimetrická ochrana
-
EZS-Elektronická zabezpečovacia signalizácia
- Komponenty MaR
- Elektroinštalačný spojovací systém
- Vyhrievacie a rozmrazovacie systémy
- Vývodky, adaptéry, záslepky
- Bleskozvodný systém
- Ochranné a výstražné systémy
- Systémy pre vedenia VN/NN
- Svorky, zásuvky
- Vypínače, spínače, ističe
- Náradie, zariadenia a prístroje
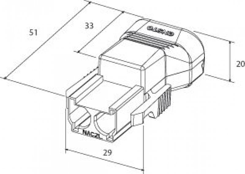
NCC21S.G
Spojka NCC21 GY 2p odľahčenie v ťahu vhodné pre všetky XL-spojky skrutkovacia (zásuvka-plug)| Konštrukcia 1: | S ODĽAHČENÍM V ŤAHU |
| Konštrukcia 2: | 2 PÓLY |
| Farba: | SIVÁ |
| Značka: | ENSTO-NET | P/N: | NCC21S.G |
OK
Ooops..
Vypršal čas, systém Vás automaticky odhlásil...
IES s.r.o.
Nová Rožňavská 136
831 04 Bratislava
Tel: +421 2 49101400
Nová Rožňavská 136
831 04 Bratislava
Tel: +421 2 49101400
IES s.r.o.
Medený Hámor 23
974 00 B.Bystrica
Tel: +421 48 4155 716
Medený Hámor 23
974 00 B.Bystrica
Tel: +421 48 4155 716
IES s.r.o.
Kragujevská 9
010 01 Žilina
Tel: +421 41 7242 485
Kragujevská 9
010 01 Žilina
Tel: +421 41 7242 485
IES s.r.o.
Jesenná 26
080 01 Prešov
Tel: +421 51 7734 549
Jesenná 26
080 01 Prešov
Tel: +421 51 7734 549
© IES s.r.o. | webdesign Geoorgee & Iko
Kontaktujte nás v prípade otázok alebo problémov s prezeraním našich stránok.
Kontaktujte nás v prípade otázok alebo problémov s prezeraním našich stránok.





